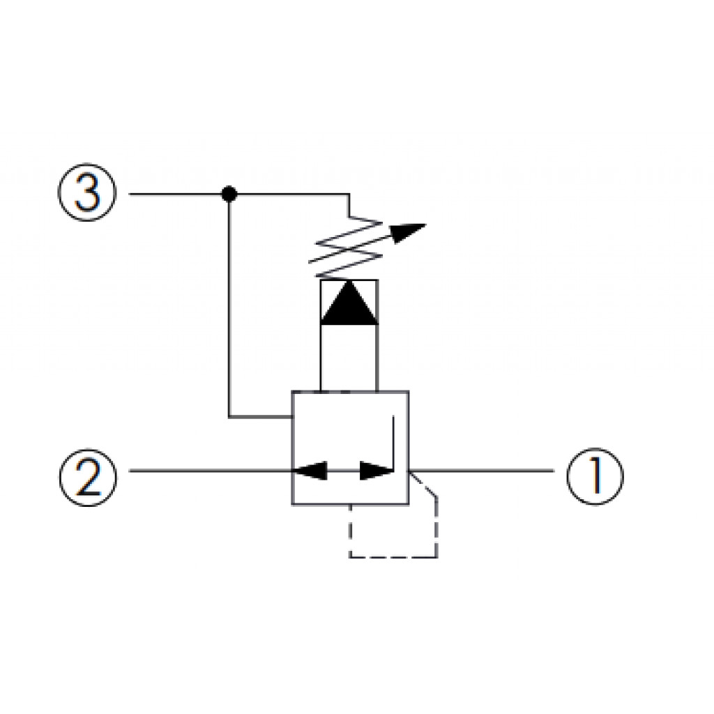
Pilot operated pressure reducing/relieving valve assembly
Inlet pressur 350 bar.
Adjustment ranges 3,5-105 bar
Standard Settings 14 bar
Maximum Differential=210 bar
Nominal flow 0 to 40 l/m
This is a pilot-operated, spool-type reducing/relieving valve, it can be used in any application where a regulated pressure lower than system pressure is required. It allows bidirectional flow between port 2 and port 1. When the pressure at port 1 exceeds the pressure setting, the spool shifts to restrict flow at port 2, regulating the pressure at port 1. If the pressure at port 1 continues to rise above the valve setting, the spool shifts further to relieve excess pressure through port 3 (tank) until the set pressure is restored.
-
When X=33, the lowest pressure will be a bit higher than standard.
-
Please note the pressure differential between inlet and reducing port when select the proper adjustment range.
-
Pressure at port 3 adds directly to the valve setting at a 1:1 ratio.
-
Working parts are heat-treated and high-precision ground to increase hardness for long life.
-
A variety of seal kit materials for different applications, see seals information under Technical Reference.
-
Winner's cartridges pressure rating tested to the standard of the NFPA specification T2.6.1 and the fatigue rating's assurance and verification level is “90/90”.
-
WINNERcoat® Zinc-Nickel Plating is salt spray tested in accordance with DIN EN ISO 9227 for up to 1000 hours.
-
Winner guarantees that all products performance a 100% functional test before shipment.
| Cavity |
11A-3 |
| Rated Flow |
40 L/min |
| Control Pilot Flow |
0.11 - 0.16 L/min |
| Maximum Operating Pressure |
350 bar |
| Valve Hex Size |
22.22 mm |
| Valve Installation Torque |
40 - 50 Nm |
| Adjustment Screw Internal Hex Size |
4 mm |
| Locknut Hex Size |
14.27 mm |
| Locknut Torque |
9 - 10 Nm |
| Weight |
0.15 kg (Z=L, LP); 0.16 kg (Z=KF) |
(35)/PP-11A/PP-11A-E-350.png)
Pilot operated pressure reducing/relieving valve assembly Inlet pressur 350 bar. Adjustment ranges 3,5-105 bar Standard Settings 14 bar Maximum Differential=210 bar Nominal flow 0 to 40 l/m
This is a pilot-operated, spool-type reducing/relieving valve, it can be used in any
mer